Упаковка и вес

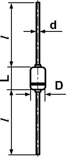
DO-34, DO-35

Корпус Размеры, мм
D L d l

DO-34

2 2.9 0.52 25.4

DO-35

4.2